Type de la demande
BR Brevet
Sous-type de la demande
BR Brevet PCT
(10) Numéro et date d'enregistrement
019036 2019.11.11
Satut
528
(180) Date d'expiration
2028.02.08
(20) Numéro et date de dépot
OA 1/2009/000264 2008.02.08
(40) Numéro et date de publication
(86) PCT Numéro et date de dépoôt
(87) PCT Numéro et date de publication
(85) Date d'entrée en phase Nationale
(30) Détails de la priorité
US 60/900505
2007.02.09
US 60/906634
2007.03.12
US 60/930711
2007.05.17
(72) Inventeur
(FR) DANA Todd : 990 E. South Union Ave., #31
(74) Nom du représentant
(FR) CABINET J. EKEME : B.P. 6370, YAOUNDE
(54) intituler
(FR) Methods of recovering hudrocarbons from hydrocarbonaceous material using a constructed infrastructure and associated systems
(57) Abrégé
(FR)

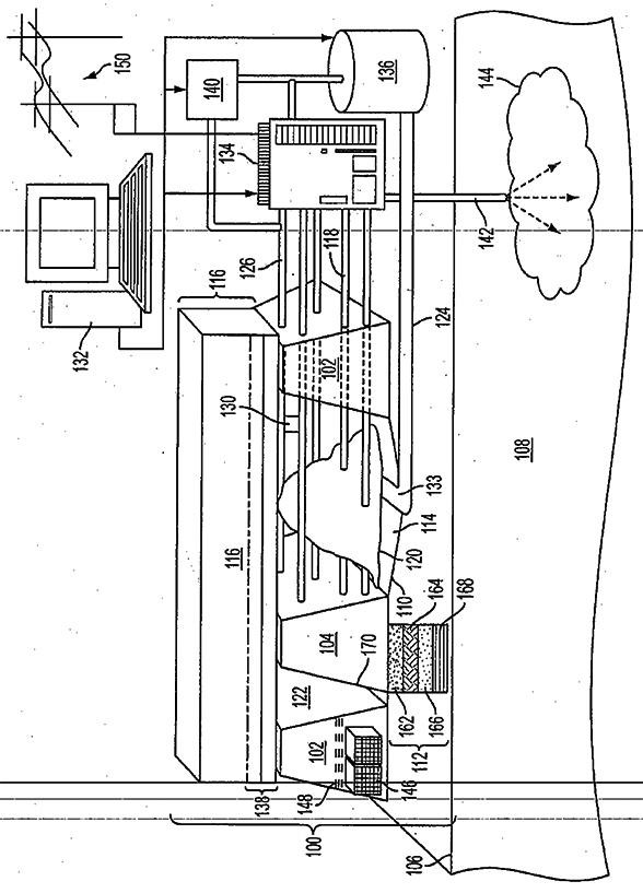
A method of recovering hydrocarbons from hydro carbonaceous materials can include forming a constructed permeability control infrastructure (100). This constructed infrastructure defines a substantially encapsulated volume. A comminuted hydro carbonaceous material can be introduced into the control infrastructure to form a permeable body (120) of hydro carbonaceous material. The permeable body (120) can be heated sufficient to remove hydrocarbons therefrom such as by using heating conduits (118,126). During heating the hydro carbonaceous material is substantially stationary as the constructed infrastructure (100) is a fixed structure. Removed hydrocarbons can be collected as liquid products (136) and gaseous products (140) for further processing, use in the process, and/or use as recovered.

FIG.1

(58) Citations
Type de document Date Action
Nom de l'événementDateSatut
Filing2008.02.08Filed
Registration2019.11.11Registered
-2019.11.12528